| |
|
 |
我们的特色:
专家型技术服务
适合型方案定制 |
当我们获悉您的需求时,我们的专家第一时间活跃于您的现场,聆听您的意见,您收到的第一份来自雷顿三坐标的文件,不是我的报价,而是我们专家提交的技术解决方案。
我们的理念:
宁少交一友,不多一敌人
宁少卖一台,不多一恶评 |
|
|
|
|
 |
高精度自动三坐标测量机|三次元测量仪-Metroking系列 |

点击图片放大显示 |
超高精密自动三坐标测量机技术之集大成者-Metroking系列
MOST ACCURATE CMM DESIGN AVAILABLE
·采用全花岗岩结构、有限元分析、固定龙门式设计从而使测量机整体保持了高稳定性与高
zz可靠性。
·三轴均采用先进的柔性钢丝同步齿型带传动,整机运动无任何噪音、定位快速准确、不打
zz滑、长寿命。
·采用世界名牌大功率电机及伺服驱动器,大大改善运动控制特性,测量机加速、制动、运
zz行更快速平稳。
·整机稳定可靠,全花岗岩构件使测量机获得极长使用寿命和非常高的投资回报率。
|
·集合多年高精度测量机研发与生产经验,经过各行业不同的应用验证,其无与伦比的精度稳定性堪称高精度三坐标测量机的典
zz范,可满足精密零部件检测与高精度曲面扫描、计量室以及标准检具的检定。
·采用进口气动系统,Z轴气动平衡,可靠、平稳提高定位精度,三级精密过滤系统,超高过滤精度,确保导轨长寿命,进口高柔
zz性拖链、电缆保证电气系统的长寿命。
·全花岗岩横梁、整体基座、立柱工作台、Z轴形成整机全封闭框架结构,具有高稳定性、不易变形、热稳定性高等特点。
·Y轴采用高精度整体双燕尾导轨、三轴均为中心驱动、高分辨率光栅尺中心安装使各轴运动的俯仰、偏摆得到最大限度抑制,且
zz产生最小的阿贝误差。
·可配置RENISHAW公司全系列触发式及接触式扫描测头,也可配置LS系列激光线扫描测头、高精度激光点扫描测头、LV系列高分辨
zz率CCD数字光学影像测头实现高精度复杂曲面高速扫描(逆向工程)、微小尺寸高精度非接触测量等任务。 |
 |
Metroking系列三坐标测量机性能指标
SPECIFICATIONS
型号 |
行程范围(mm)
|
精度指标 |
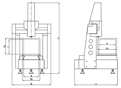
主机外廓尺寸(mm)
|
允许工件尺寸(mm) |
| X×Y×Z |
MPEE (μm) |
MPEP (μm) |
Lx×Ly×Lz |
Wx×Wy×Wz |
NCF553 |
500×500×300 |
1.1+L/400 |
1.4 |
1600×1400×2550 |
600×600×400 |
NCF564 |
500×600×400 |
1.2+L/400 |
1.5 |
1600×1600×2750 |
600×700×500 |
| NCF574 |
500×700×400 |
1.2+L/400 |
1.5 |
1600×1800×2750 |
600×800×500 |
| NCF584 |
500×800×400 |
1.2+L/400 |
1.5 |
1600×2000×2750 |
600×900×500 |
| NCF565 |
500×600×500 |
1.2+L/400 |
1.5 |
1600×1600×2950 |
600×700×600 |
| NCF575 |
500×700×500 |
1.2+L/400 |
1.5 |
1600×1800×2950 |
600×800×600 |
| NCF585 |
500×800×500 |
1.2+L/400 |
1.5 |
1600×2000×2950 |
600×900×600 |
| NCF686 |
600×800×600 |
1.2+L/400 |
1.5 |
1700×2000×3150 |
700×900×700 |
| NCF6106 |
600×1000×600 |
1.2+L/350 |
1.5 |
1700×2400×3150 |
700×1100×700 |
| NCF8106 |
800×1000×600 |
1.2+L/350 |
1.5 |
1900×2400×3150 |
900×1100×700 |
| NCF10126 |
1000×1200×600 |
1.5+L/350 |
1.8 |
2100×2800×3150 |
1100×1300×700 |
| NCF12156 |
1200×1500×600 |
1.5+L/350 |
1.8 |
2300×3400×3150 |
1300×1600×700 |
| NCF10128 |
1000×1200×800 |
1.5+L/350 |
1.8 |
2100×2800×3350 |
1100×1300×900 |
| NCF10158 |
1000×1500×800 |
1.8+L/350 |
1.9 |
2100×3400×3350 |
1100×1600×900 |
NCF12158 |
1200×1500×800 |
1.8+L/350 |
1.9 |
2300×3400×3350 |
1300×1600×900 |
环境要求:
- 标准环境温度:18 - 22℃
- 环境温度变化:1℃/h - 2℃/24h
- 温度梯度:1℃/m
- 相对湿度:55% - 65%
供气要求:
- 空气压力:0.4 - 0.5Mpa
- 空气流量:150NL/min
- 过滤精度:0.3μm
电源要求:
|
|
|
|
|